Model 112

Spring Hinge – 40kg Max for wooden, aluminium & steel doors available for left & right opening.

Model Number Door Size (mm) Door Weight (kg) Closing Force (N-m) Stop Mechanism Location of Stop Max Opening Angle Surface Colour
Right Hand Left Hand W H D
112R 112L 900 (max) 2100 (max) 30 (min) 40 (max) 10.0 X X 180 Left or Right One-side Opening Sliver & Bronze
112SR 112SL O 85 - 150
Empty Hinge, 110R 110L X X X

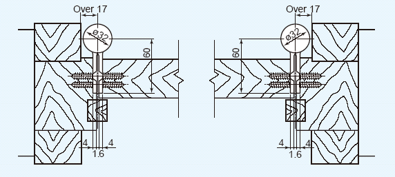
Installationah_leftandright

1. The door and frame materials to which the hinge is to be fitted should be of hard wood such as lauan or harder.
2. Because the attached screws for fitting are 25mm long, the thickness of the frame should be over 25mm.
3. Allow at least 5mm of space between outer edge of door and frame.
4. The R type is also available for the corner of the blade.
5. Surface treatment is by baked coating of melamine resin.
6. Always allow for a door stopper to prevent the door from opening wider than 180°.


 

External Dimensions

ah_112_drw_2ah_112_drw_1

 


 

Fitting

ah_112_drw_3

Our Clients

All Clients