Spring Hinge – 60kg Max for wooden doors. available for left & right opening.
| Model Number | Door Size (mm) | Door Weight (kg) | Closing Force (N-m) | Stop Mechanism | Location of Stop | Max Opening Angle | Surface Colour | |||
| Right Hand | Left Hand | W | H | D | ||||||
| 122R-AT | 122L-AT | 900 (max) | 2100 (max) | 30 (min) | 40 (max) | 10.0 | X | X | 180 Left or Right One-side Opening |
Sliver |
| 122SR-AT | 122SL-AT | O | 85 - 150 | |||||||
| Empty Hinge, 120R-AT | 120L-AT | X | X | X | ||||||
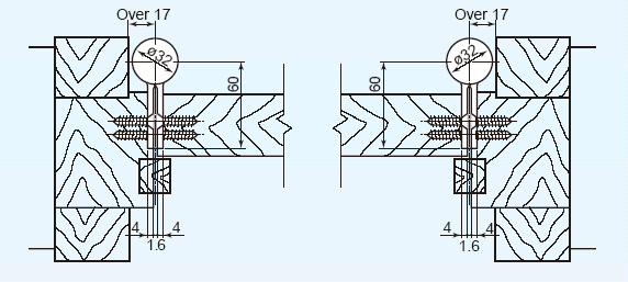
Installation
1. The door and frame materials to which the hinge is to be fitted should be of hard wood such as lauan or harder.
2. Because the attached screws for fitting are 25mm long, the thickness of the frame should be over 25mm.
3. Allow at least 5mm of space between outer edge of door and frame.
4. The edge type is also available for the corner of leaves.
5. Surface treatment is by baked coating of melamine resin.
6. Always allow for a doorstopper to prevent the door from opening wider than 180°.
External Dimensions
Fitting













